Volvo создает руль, который передвигается по приборной панели

Руль можно будет перемещать по передней панели слева на право и обратно, а также и установить по центру.

Фото: Drive2.ru

Фото: Drive2.ru

В будущем путешествовать на машине станет еще проще. Водителю будет проще адаптироваться к новой схеме движения. Нужно будет просто передвинуть руль в нужную сторону. Volvo планирует установить новый узел рулевого колеса на свои будущие автомобили. Шведский автопроизводитель хочет дать водителю возможность сидеть в машине где угодно, и даже посередине.

Фото: 110km.ru

Фото: 110km.ru

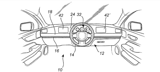
Рулевое колесо будет перемещаться в поперечном направлении с помощью ползунка и фиксируется на нужном месте, делится 110km.ru. Приборная панель перемещается вместе с рулем, а экраны медиасистемы могут быть расположены по-разному. Патентные изображения демонстрируют несколько возможных сценариев и позволяют представить, как машины Volvo будут выглядеть в будущем.

Фото: 110km.ru

Фото: 110km.ru

Не стоит волноваться. В плане педалей тоже есть решение. В современных машинах нет прямой связи между педалями и агрегатами, потому что управление идет «по проводам». Volvo планирует предложить три набора педалей. Это не будет похоже на учебную машину. Компания найдет возможность элегантно спрятать педали до тех пор, пока они не понадобятся.

Фото: 110km.ru

Фото: 110km.ru

Ранее мы показали рекламу Volvo, «взорвавшую» TikTok.

telegramБольше об авто в Телеграм-канале Подписаться

Популярные новости

Популярные новости