Volkswagen придумал уникальные скрытые дверные ручки

Немецкий автогигант подал патент на новейшую систему отпирания дверей автомобиля.

Фото: Volkswagen

Фото: Volkswagen

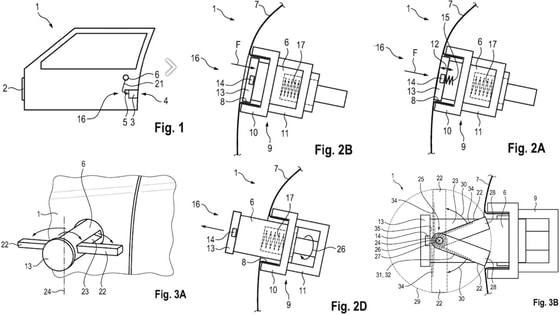
В соответствии с патентом, зарегистрированным Volkswagen в Немецком ведомстве по патентам и товарным знакам, ручка утопает в двери в неиспользуемом положении и выступает наружу при использовании. Два элемента захвата в форме стержня будут выскакивать по бокам, когда он движется наружу, позволяя пользователю вращать ручку. При этом, эта технология безопасна.

Фото: Volkswagen

Фото: Volkswagen

Как только закрывается дверь, ручка станет небольшой круглой прорезью, находящейся на одном уровне с корпусом, делится Speedme. Подпружиненные стержни складываются внутри ручки, когда находится на одном уровне с корпусом.

Подпружиненные стержни складываются внутри ручки, когда они не используются. Блокировка полезна по двум причинам: первая — конструкция заподлицо, которая будет более аэродинамичной.

Фото: Volkswagen

Фото: Volkswagen

Если посмотреть почти на каждый электрокар, который есть сейчас на рынке, то можно заметить, что инженеры сделали все, чтобы уменьшить лобовое сопротивление. Сопротивление — враг эффективности, и, хотя эти ручки могут не сильно снизить его, каждая мелочь важна.

Фото: Volkswagen

Фото: Volkswagen

А вторая причина, учитывая меньшую площадь поверхности, уменьшает вероятность попадания в дверной механизм посторонних частиц. Этот дверной замок будет полезным в машине, который постоянно подвергается суровым испытаниям.

Ранее мы сообщили о том, что работников завода Volkswagen не пускают домой.

telegramБольше об авто в Телеграм-канале Подписаться

Популярные новости

Популярные новости