Продумано до мелочей: Tesla удивляет еще одним нестандартным открытием

Автопроизводитель получил патент на лазерные стеклоочистители.

Фото: Tarantas

Фото: Tarantas

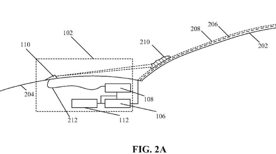
Лазерные лучи будут выявлять мусор на поверхности стекла и выжигать его. Есть вероятность, что они будут очищать не только лобовое, но и все остальные стекла, делится Tarantas. Сообщается, что на эту разработку Tesla потратила около двух лет.

Фото: Tarantas

Фото: Tarantas

Исходя из описания технологии в патентных документах, лучи в прямом смысле выжигают мусор, но не могут проникнуть сквозь стекло. В начале недели Ведомство по патентам и товарным знакам США дало добро на выдачу патента.

Фото: Tarantas

Фото: Tarantas

Официальное название технологии: «Импульсная лазерная очистка мусора, накопленного на стеклянных изделиях в транспортных средствах». А на модели Cybertruck могут появиться электромагнитные стеклоочистители.

Напомним, ранее стало известно, что Tesla продала больше миллиона автомобилей Model 3 во всём мире.

telegramБольше об авто в Телеграм-канале Подписаться

Популярные новости

Популярные новости